Fyrirspurnakarfa
Karfan þín er tóm
Þú virðist ekki hafa bætt neinu í körfuna þína. Þú getur skoðað vörur frá TipTipTap og Flexizone

URBAN

8+
2.50
1.74
4.67
2.50
Lita tegundir

Upplýsingar

Stainless steel tubes, strips, platforms and weatherproof textured wear-resistant plywood walls imitating concrete look – the strong look of the URBAN series products is created by high-quality materials that ensure resistance to weather and vandalism. The URBAN theme series can be assembled into a powerful town but each attraction is also challenging on their own.MaterialsEdge profile: stainless steelInner frame: hot galvanised steelPlatforms: hot galvanised steel frame with stainless steel platingPanels: weatherproof textured grey plywood with thick, wear-resistant phenolic coating and concrete imitationClimbing stones: high quality polyresin with metal washer insertedTubes, ladders, parallel sliding bars: stainless steelFixings: stainless steel.

Frekari upplýsingar

Tæknilegar upplýsingar
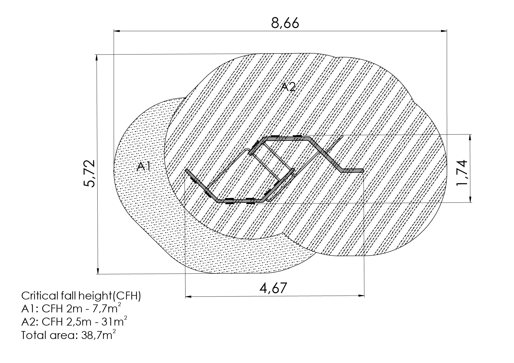
Breidd öryggissvæðis: 
5.72
m
Lengd öryggissvæðis
8.66
m
Breidd
1.74
m
Lengd
4.67
m
Hæð
2.50
m
Hámarks fallhæð
2.50
m
Ráðlagður aldur barna
8+
ára
Fjöldi leyfður samtímis
1+
börn
Öryggissvæði

Fleiri leiktæki